上传的图像用于项目: 'CST技术支持'
  1. CST技术支持
  2. SLAL2-3401

LVMH-自定义字段关联关系编写

XMLWord打印

    • L-LVMH-Y2017034
    • 基础通用功能
    • 隐藏

      代码:
      for record in self:
      qutas = self.env['hr.holiday.inquiry'].search([('employee_id', '=', record.employee_id.id)])
      the_num = 0
      for quta in qutas:
      if quta.holiday_type_id.code in ['L002','L004']:
      the_num+=quta.balances
      record['x_fadingnianjiayue'] = the_num

      for record in self:
      qutas = self.env['hr.holiday.inquiry'].search([('employee_id', '=', record.employee_id.id)])
      the_num = 0
      for quta in qutas:
      if quta.holiday_type_id.code in ['L003','L005']:
      the_num+=quta.balances
      record['x_gongsinianjiayue'] = the_num

      显示
      代码: for record in self: qutas = self.env ['hr.holiday.inquiry'] .search( [('employee_id', '=', record.employee_id.id)] ) the_num = 0 for quta in qutas: if quta.holiday_type_id.code in ['L002','L004'] : the_num+=quta.balances record ['x_fadingnianjiayue'] = the_num for record in self: qutas = self.env ['hr.holiday.inquiry'] .search( [('employee_id', '=', record.employee_id.id)] ) the_num = 0 for quta in qutas: if quta.holiday_type_id.code in ['L003','L005'] : the_num+=quta.balances record ['x_gongsinianjiayue'] = the_num

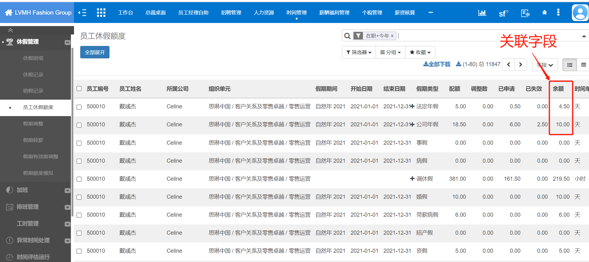
      自定义字段:离职记录模块的:法定年假余额,公司年假余额;
      取值:时间模块/休假管理/员工休假额度 的员工 法定年假余额&公司年假余额;

        1. image.png
          208 kB
          刘月
        2. image.png
          134 kB
          刘月

            grant.yang 杨光磊
            yue.liu 刘月
            表决:
            0 为这个问题表决

              创建日期:
              已更新:
              已解决: